Все о транспорте
 

Лопасти несущего винта вертолета

Страница 6

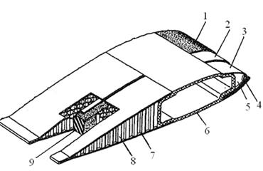
Рисунок 1.10 – Конструктивно-силовая схема отсека лопасти из композиционного материала вертолета Ка-26, где 1 – резиновое покрытие; 2 стеклопластиковый носок; 3 – оковка; 4 – трубка противообледенителъной системы; 5 – противофлаттерный груз; 6 – лонжерон; 7 – стеклопластиковая обшивка; 8 – сотовый заполнитель; 9 – резиновый вкладыш

Таким образом, композитные лонжероны имеют контурную форму (D-образное сечение), которая совпадает или близка к форме аэродинамического профиля лопасти.

Кроме того, силовым элементом лопасти может быть лонжерон С-образного сечения [3] (рисунок 1.11).

Рисунок 1.11 – С-образная форма лонжерона, где 1 – электротепловой элемент; 2 – антиабразивная накладка; 3–6 – элементы каркаса; 7 – лонжерон

Страницы: 1 2 3 4 5 6 

 
 

Основные задачи по внедрению энергосберегающих технологий и экономические мероприятия в АТП
Защита окружающей среды от вредного воздействия АТ ведется по многим направлениям, часть из которых должна стать полем деятельности выпускников автотранспортных учебных заведений и которые я наметил к внедрению в своем проекте. В настоящий момент разработано и повсеместно внедряется свыше 30 стандартов по природоохранным мероприятиям. В частности, не допускается ввод в эксплуатацию АТП (и др.промышленных объектов) до окончания их строительства ...

Расчет показателей работы автобусов по маршруту «Мозырь - Гостов»
Исходные данные: марка автобуса – МАЗ-103; пробег автобуса с начала эксплуатации – 306270 км; количество шин – 6 штук; цена одного комплекта автомобильных шин – 827676 руб.; размер шин – 11/70R 22,5; стоимость дизельного топлива без учета НДС – 3150 руб.; эксплуатационная норма пробега одной шины до списания - 70000 км; протяженность маршрута (в одну сторону) – 22,9 км; тарифный коэффициент водителя в зависимости от габаритной длины ав ...

Элементы объёмного гидропривода: рабочие жидкости, гидроаппаратура, гидролиниии гидроёмкости, кондиционеры рабочей жидкости
Объемным гидроприводом наз совокупность объем гидромашин, гидроаппаратуры и вспомогательных устройств соед. с помощью гидролиний. Предназначена для передачи энергии и преобразования движения с помощью жидкости. Гидромашины- гидронасосы, г двигатели. Гидроаппаратура- клапаны, дроссели, г распределители. По виду источника энергии 1-насосный. (раб. Жид подается в г двиг насосом) распространена,2- аккумуляторный.3- магистральный. Требования к раб ж ...